DecathaLAW Series 2026: Article 4
With the spotlight turning to the Milano Cortina 2026 Olympic Winter Games, winter athletes will once again compete in events where innovation in equipment can influence outcomes, especially when performance margins are measured in fractions of a second. Some Olympians have contributed directly to innovation by translating the realities of speed, impact, and equipment failure into protectable equipment designs.

Ted Ligety, an American alpine skier and a two-time Olympic gold medalist, appears as an inventor on multiple U.S. patents for protective sports gear, including U.S. Patent No. 10,143,258 (“Protective helmet”) (patented December 4, 2018). The ‘258 Patent describes a helmet and pad configuration intended to reduce stresses transmitted to the head following an impact. In a category where athletes routinely face high-speed falls, design choices in protective equipment are not cosmetic, rather central to athlete safety and longevity.

And this athlete-inventor isn’t a new phenomenon. Charles Jewtraw, an American speed skater, won Olympic gold in the 500 meters at the 1924 Winter Olympics and is widely recognized in Olympic history as the first Winter Games gold medalist. Jewtraw later was granted U.S. Patent No. 2,312,911 (“Skating shoe and the like”) (patented March 2, 1943), which describes skate-footwear improvements such as internal padding and inserts designed to protect the foot and reduce pressure-point injuries. His story is an example of the athlete-to-inventor pipeline: firsthand performance and comfort problems become design solutions and then IP assets.

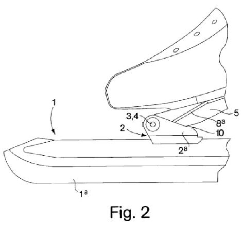
Beyond athlete-driven inventions, even small engineering changes can reshape results. A classic case is the clap skate used in speed skating, which is a hinged design that allows the blade to remain in contact with the ice longer through the end of a skater’s stride. First patented as DE78733 in Germany in 1894, the clap skate has evolved over time, but the hinge remains a constant component in all versions due to its impact on race outcomes. In a sport where efficiency gains compound over every push, that kind of mechanical refinement is exactly the sort of innovation the patent system was built to capture.
An improved version of the clap skate was patented in the U.S. on June 27, 2000, as U.S. Patent 6,079,717 to a Dutch family skate manufacturer, Viking Schaatsenfabriek B.V.


Patents can cover a wide range of technologies, including technologies specific to Winter Olympic sports. Despite widespread participation in these events by athletes, coaches, and other sports enthusiasts, securing patents for related and improved technologies, such as the clap skate, is possible. One useful way to navigate this space is to turn to the Cooperative Patent Classification (CPC) system, which groups many winter sport inventions under A63C (skates, skis/snowboards, bindings, brakes/stoppers, and related accessories) and A63B (physical training and sport-specific training equipment).
For example, winter equipment is often classified in A63C 1/00 (Skates) and A63C 5/00 (Skis or snowboards), with binding-focused groups like A63C 9/00 (Ski bindings) and A63C 10/00 (Snowboard bindings), plus safety/accessory categories such as A63C 7/00 (ski-stoppers or ski-brakes) and A63C 11/00 (accessories for skiing or snowboarding). On the training side, inventions commonly fall under A63B, including A63B 69/00 for training appliances or apparatus for special sports. Moreover, there are many other classes and subclasses of the U.S. and non-U.S. Patent Offices in which innovations for sports performed in the Olympics are categorized.
The takeaway is simple: the “best in the world” won’t be defined solely by athletic ability. It will also be reflected in the quality of the engineered systems supporting athletes, such as helmets that better manage impact, skates that better translate force into speed, and product ecosystems where performance features and brand identity can both be protected using intellectual property, such as patents and trademarks. In that sense, the podium is only part of the story. The patent landscape is where many of the next innovative breakthroughs and gold medals begin.